在瑞安飞云江南岸,有一座地标建筑曾被誉为瑞安“最美大楼”。它就是侨贸中心,曾凭高颜值的外立面,一度成为瑞安城市界面的新名片。#温州房产#温州楼市#瑞安房产

然而,就在今天,这座光环加身的大楼,却有3套办公房源在阿里资产平台上司法拍卖。更令人唏嘘的是,其背后的开发商,如今已是债务缠身、被限制高消费的“失信人”。

01
本次被法拍的3套房产,位于侨贸中心的16楼和19楼,产权归开发商所有,单套建筑面积在273㎡至322㎡之间,总起拍价465万元,折算下来,起拍均价仅约5358元/㎡。

侨贸中心在2020年11月开盘时,可是妥妥的“高富帅”。当时推出的92套商业办公用房,开盘折后毛坯均价约为15398元/㎡。根据一房一价表显示,本次拍卖的3套房源,当年的备案价分别为561万、462万和468万。

这意味着,此次法拍的起拍价,相当于在原开盘价的基础上打了3折!

实际上,这已经是这批房源的第二次拍卖了。就在不久前,3套房源起拍总价还是577万元,此次相当于一口气再降了112万元。

02
这3套办公用房,为何沦落到“骨折价”拍卖?这与其背后开发商资金链危机密不可分。
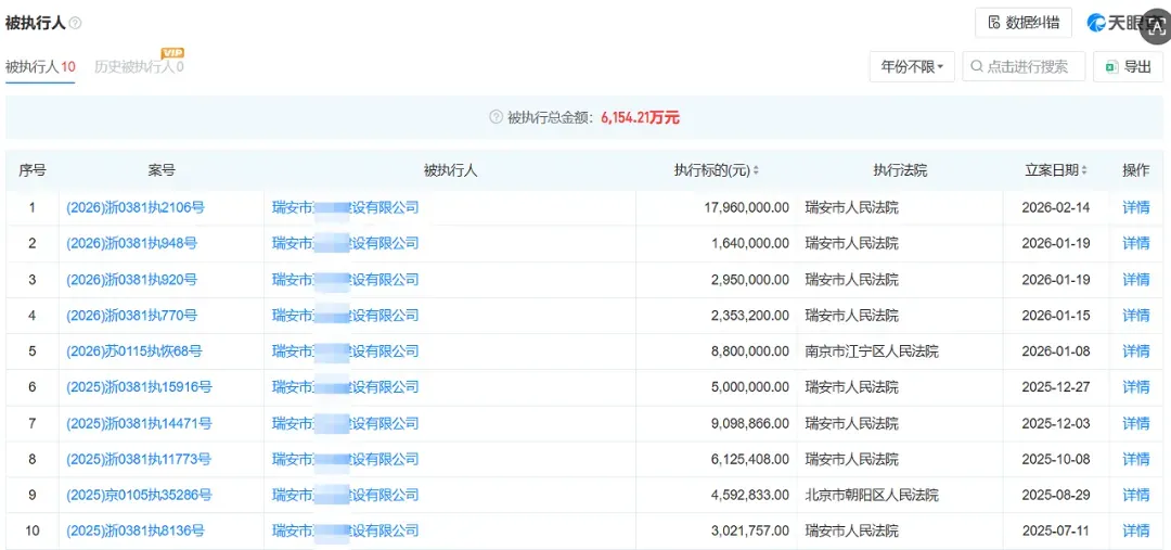
天眼查公开资料显示,侨贸中心的开发商“瑞安市某建设有限公司”早已成为失信被执行人,公司及相关法人代表被限制高消费。


从2024年到2026年初,该公司涉及的开庭公告就多达22条。纠纷类型五花八门:金融借款合同纠纷、建设工程施工合同纠纷、民间借贷、融资租赁……原告方包括温州民商银行、温州融资担保公司以及多家建筑、设计单位。

目前,该公司名下共有10条被执行人记录,被执行金额高达6154万元。

资金的枯竭,也直接反应在了项目的销售上。侨贸中心自2020年开盘至今已有5年多,截至发稿前,温州房管网显示,项目仅网签了22套,剩余70套处于待售状态,去化率不足四分之一。
为了回笼资金,项目曾分别在2021年和2024年两次大幅调价,单价从1.5万元/㎡一路降至8000元/㎡左右,但即便如此,销售依然举步维艰。

如今,项目待售房源均已被限制销售,资产被抵押,未来或将只能通过司法拍卖来偿债。

03
尽管命运多舛,但不得不承认,侨贸中心本身的硬件条件确实是瑞安办公楼市场的“顶配”。
项目位于侨贸小镇核心位置,紧邻瑞安动车站和飞云高速入口,交通优势明显。整栋大楼由美国哈佛设计师操刀,引入“江南水乡”概念,采用了全曲线设计标准的3层中空夹胶LOW-E玻璃,线条层层叠叠,既现代又富有江南韵味。

大楼总高近100米,共21层,配备了智能化的办公系统、智能门禁、机器人导航、电梯监控等数字化设备。2022年交付时,它凭借超高颜值出圈。
然而截至今天发稿前,这3套法拍房源围观人数寥寥,且无人报名,最终拍卖结果将在3月20日揭晓。
6折!温州新京都家园房产流拍后直降35万,而同小区另一套遭12人疯抢......
2026-03-20

2026-03-20

2026-03-20

疯抢!温州龙湾这套房成交,有人血亏213万,有人捡漏170万?......
2026-03-19

震撼首发!温州瓯海红盘「臻玉园」二期价格/户型全曝,3.20开盘!速看>>
2026-03-19

2026-03-19



联系我们
13968931035

关注瑞安房市通

关注温州房市通
